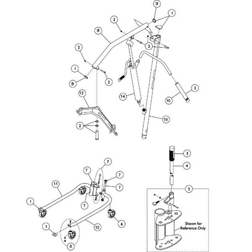
Invacare 9800A Mast and 9884 Base

Ensure your Invacare 9800A patient lift operates safely and efficiently with high-quality mast and base replacement components designed for dependable performance and long-term use.

Lift Support Components

Designed for strength and stability, these mast and base components help maintain proper alignment and smooth operation during patient transfers. Built for durability, they provide reliable performance in healthcare and home care environments.

Compare Selected